来源:搜狐 作者:洋洋
2020-09-30 17:00:18
据搜狐焦点运营中心统计,10月预计有37盘新盘入市,其中南山有5个、龙华1个、福田2个、光明1个、宝安9个、坪山4个、大鹏1个、龙岗6个、深汕2个、盐田1个、罗湖4个。
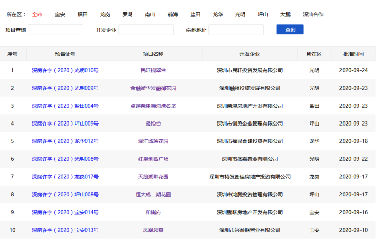
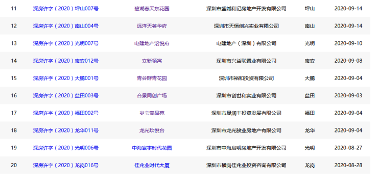
金九银十”如约而至,新盘扎堆9月末,刚刚过去的一周,深圳有14盘面市,6盘入市,可谓是在国庆前提前开启了“购房黄金周”,让前三周还在感叹“金九”不“金”的购房者们倍感“真香”。截止到发稿,9月共有18盘获得预售许可证,共有10227套房源获批预售。


“金九”虽将过去,但购房者也无需着急,”银十”即将到来,据搜狐焦点运营中心统计,10月预计有37盘新盘入市,其中南山有6个、龙华1个、福田2个、光明1个、宝安9个、坪山4个、大鹏1个、龙岗6个、深汕2个、盐田1个、罗湖4个。以下数据均为预计入市,具体的入市时间以开发商公示为准(基本按照预售证获取情况)。

10月即将入市的新盘众多,各区均有可选择新盘,宝安、龙岗、南山和坪山的新盘最为集中。
南山10的新房供应量相对较大,有6个盘即将入市,其中位于西丽片区的深铁阅山境花园,已开启诚意登记,想必很快就能入市;位于蛇口片区的晗山悦海城已经开放样板间多时,预计入市时间临近,现可以接受预约看房;华侨城片区的深业鹤塘岭花园和香山道公馆开放了展示中心;值得一提的是位于南油片区的中泰·印邸推出了60-90㎡小户型住宅,现已开放展示,在上车门槛相对较高的南山,提供了一些上车的可能;那些年我们错过的华润城也终于要来了,华润城润玺1期已经开放了展示中心,预计10月会入市,关注华润城的购房者们可不要错过了哦!
龙华10月预计只有1盘入市,是位于大浪街道的锦顺名居,推出了81-191㎡住宅,47㎡-62㎡公寓和87-293㎡办公产品,现可电话咨询。龙华从6月至今已经推出了12个项目, 9月入市的合正观澜汇和莱蒙水榭云上的房源量都较大,想在龙华上车购房者也可以考虑以上两盘。
福田10月预计有2盘入市,推出公寓项目的恒大珺睿大厦和推出住宅项目的天健天骄北庐,两盘都已开放了展示中心,天健天骄北庐可参观样板间,预计近期会入市。
火爆了大半年的光明10月终于可以休息一下了,大热的金融街华发融御华府2期预计在10初就可入市,有意向的购房者要多加关注。之后光明的推盘速度可能就没有那么快了,因此四季度西部楼市的热度可能会集中在宝安沙井片区。
宝安成为了10月预计入市新盘最多的区域,也是热盘最多的区域,“新桥四子”中的巨基四季名苑、清平华府和嘉富新禧都已经开放了展示中心,预计近期入市;同样位于新桥的大热盘万丰海岸城回迁房已于9月25-27日完成选房,商品房可能随时开售;中晟会港湾的公寓项目也已开放展示中心;此外,新世界松风明月花园、会展湾东城和尖岗山壹号花园也预计在10月入市;除了这热门楼盘,位于西乡的领航城三期推出的53㎡小户型住宅项目也值得关注,低门槛西部上车,刚需购房者可以关注一下。
坪山新盘也集中在10月入市,经过大半年的施工建造,坪山众多名企盘终于准备入市。花样年旭辉好时光家园、万樾府和佳华领悦广场都已在坪山益田假日世界一层开启巡展;东关珺府已开放展示中心。坪山10月预计入市的新盘都是户型选择范围较多的住宅项目,感兴趣的购房者可以多多关注。
大鹏目前新房供应和需求量都不太大,青谷群青花园已获得预售证,10月即将开盘。
龙岗预计有6盘推出,鹏华世家华府的复式住宅项目预计国庆期间开售;保利勤诚达誉都、融悦大厦和中海阳光橡树园都已开放了样板间,预计入市时间不远;信义嘉御山7期和碧桂园观麓花园都推出了住宅项目,刚需上车购房者可关注。
近期深汕合作区正式发布购房新政,深汕高铁项目也公布了线路图,同时也带动了众多想在深汕的购房者,接下来会推出振业时代花园二期、赤湖纯水岸花园、特区建发东部大厦、深汕湾智苑、深汕湾科技园和深汕绿地商务中心二期等项目。振业时代花园二期和深圳湾智苑将于近期入市。
10月28日地铁8号线通车,大大拉近了盐田与中心市区的距离,有盐田置业想法的购房者可以考虑上车了哦,盐田10月将有1新盘入市,卓越荣津瀚海湾名庭已获得预售证,项目推出89-148㎡住宅和30-60㎡公寓产品,预计十月初入市。
10月将至,推盘量较少的罗湖也终于开启了逆袭之路, 碧桂园翠湖大厦、深圳大中华环球经贸广场、缙山府和笋岗中心万象华府预计扎堆在10月开盘,其中碧桂园翠湖大厦和深圳大中华环球经贸广场都已经开放了样板间,预计入市时间邻近;笋岗中心万象华府和缙山府也已开放展示中心。作为深圳的“老大哥”,罗湖的教育、医疗和商业配套都很优质,难得新盘集中入市,期待罗湖新盘的购房者近期可要多加关注。